加载中...

您的当前位置: 网站首页 > 万通资讯 > 行业资讯 > 得力公司实用新型专利“桌面吸尘器”遭无效引纠纷-泉州实用新型专利申请流程与时间

得力公司实用新型专利“桌面吸尘器”遭无效引纠纷-泉州实用新型专利申请流程与时间

分类:行业资讯 发布日期:2020/12/4 10:59:51 浏览次数:911 [返回]


近日,北京知识产权法院受理了一起“桌面吸尘器”实用新型专利权无效行政纠纷。


得力集团有限公司(简称得力公司)于2015年5月申请涉案专利,并于2015年9月授权。上海晨光文具股份有限公司以该专利不具备创造性为由,向国家知识产权局提出无效宣告请求。


得力公司实用新型专利“桌面吸尘器”遭无效引纠纷-泉州实用新型专利申请流程与时间


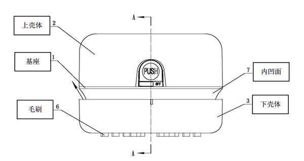
2020年7月6日,国家知识产权局作出决定,认为权利要求1与证据5相比,存在以下区别特征:涉案专利中下壳体的内侧壁与基座下端的外壁之间留有间隙,且出气口在水平方向的投影位于下壳体的内侧壁上。该区别技术特征能够使得出气口出来的气流在下壳体内侧壁的阻挡和导流下向上流动,解决了设于下方的出气口喷出的气流会将桌面上的灰尘吹起或将文件吹散的问题。


而在证据9、证据11的技术启示下,本领域技术人员有动机将上述区别特征应用于证据5以解决下方出气口没有阻挡而产生的问题。因此,权利要求1在证据5的基础上结合证据9或证据11公开内容给出的技术启示不具备创造性;权利要求2-6从属于权利要求1,各附加技术特征也不具备创造性,在其引用的权利要求不具备创造性的情况下,权利要求2-6也不具备创造性。国家知识产权局宣告涉案专利全部无效。


原告得力公司不服被诉决定,向北京知识产权法院提起诉讼,认为被诉决定违反请求原则、听证原则、公平原则,存在程序违法;涉案专利相较于对比文件具备创造性,请求法院撤销被诉决定,并判令国家知识产权局重新作出审查决定。


目前,本案正在进一步审理中。


万通知识产权成立于2010年1月,是综合知识产权法律服务机构之一。其业务已涵盖:商标注册申请(转让、设计、续展、变更、撤销、答辩及复审等);泉州实用新型专利申请流程与时间(转让、外观设计、撰写、许可、诉讼、答辩及复审等);版权登记(转让、快审、诉讼、维权、海关保护等);ISO贯标认证;法律文件翻译等多方面的知识产权代理服务。现已在北京、泉州、厦门、漳州等地设立分公司。万通人一直致力于在知识产权领域为企事业单位提供法律与技术支持,为用户提供个性化的知识产权战略咨询及整体解决方案。


特别声明:本文内容来源于网络,后经万通知产小编二次加工编辑,本站不承担此作品侵权行为的直接责任及连带责任。版权归属原作者,如若本网站有任何内容侵犯您的权益,请及时联系我们,本站将会在24小时内处理完毕。

泉州:泉州市晋江市池店镇百捷中央金街SOHO办公1栋603-605室 0595-28069768
漳州:漳州市龙文区天利仁和16幢2单元1608室 0596-2960023
厦门:厦门市思明区国贸汇景57号304室 0592-6255451
万通知识产权 版权所有 网站备案号:闽ICP备18004352号-1